High Voltage Pin Diode Driver

One key section of a laser diode driver is the adjustable current sourceit can also be known as the output stage. In essence a gate driver consists of a level shifter in combination with an amplifier.

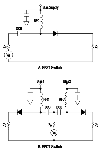
Application Notes How To Specify Pin Diode Switches

Application Notes How To Specify Pin Diode Switches

Laser Diode Driver Circuit

Laser Diode Driver Circuit

A Radiation Detector With A Solid State Pin Diode Sensor

A Radiation Detector With A Solid State Pin Diode Sensor

This section responds to the control system section by driving current to the laser diode.


A Radiation Detector With A Solid State Pin Diode Sensor

High voltage pin diode driver. Highly integrated 6 pack topology for easy design and system integration. While pin diodes offer some unique advantages relative to other non mechanical options such as cmos switches and mems structures they are difficult to design into a circuit unless their characteristics are clearly understood. High power led driver circuits.

How do you use them. A gate driver is a power amplifier that accepts a low power input from a controller ic and produces a high current drive input for the gate of a high power transistor such as an igbt or power mosfetgate drivers can be provided either on chip or as a discrete module. Switching rf power in portable applications is challenging for electromechanical switches due to size cost and speed considerations.

1 watt and 3 watt power leds are now widely available in the 3 to 5 range so ive been working on a bunch of projects lately that use them. Single side direct cooling 6 pack power module automotive 750 v 820 a. 7c 6c 5c 4c 3c 2c 1c com 7 6 5 4 3 2 1 7b 6b 5b 4b 3b 2b 1b 10 11 12 13 14 15 16 9 product folder order now technical documents tools software support community.

In a high side switch shown on the right the load is between ground and the p channel mosfet doing the switching. The future of lighting. The owners game manual is a handy resource to have for general game operation game settings diagnostics switch lamp matrices fuse lists circuit boards and parts playfield assemblies some basic schematics and wiring diagrams.

In a low side switch shown on the left the load is between the power rail and the n channel mosfet doing the switching. 4 recommended documentation 41 manuals schematics. Schematics for each game are essential in tracing down connections to lamps switches and solenoids.

Thermistor based fire alarms have a drawback. Here is a pin diode based fire sensor that activates an alarm when it detects fire. Where do you get them.

The alarm turns on only if the fire heats the thermistor in close vicinity. Direct cooling with integrated pin fin heatsink offers low system cost. Laser diode current source.

0 1500ma Lm358 Fet Laser Diode Driver 405nm 445nm 635nm 650nm Ir Diodes

0 1500ma Lm358 Fet Laser Diode Driver 405nm 445nm 635nm 650nm Ir Diodes

How And Why To Use Pin Diodes For Rf Switching Digikey

How And Why To Use Pin Diodes For Rf Switching Digikey

Laser Diode Driver Circuit Diagram

Laser Diode Driver Circuit Diagram

Design Of A High Power Pin Diode Controlled Switchable Rf

Design Of A High Power Pin Diode Controlled Switchable Rf

Driving Pin Diodes The Op Amp Alternative Analog Devices

Driving Pin Diodes The Op Amp Alternative Analog Devices

Electronic T R Switching And The Ameritron Qsk 5 Pin

Electronic T R Switching And The Ameritron Qsk 5 Pin

Implement Gate Drivers For 3 Level Npc2 Modules With Reverse

Implement Gate Drivers For 3 Level Npc2 Modules With Reverse

20 Amp 30 Volt High Compliance Voltage Laser Diode Driver

20 Amp 30 Volt High Compliance Voltage Laser Diode Driver

Rf Switch With Pin Diode

Rf Switch With Pin Diode

Interfacing Laser Driver Circuits With Laser Diodes Lightwave

Interfacing Laser Driver Circuits With Laser Diodes Lightwave

Reverse I V Characteristics Of 4 5 Kv Pin Diodes Before And

Reverse I V Characteristics Of 4 5 Kv Pin Diodes Before And

Micod Geiger Detector Driver Physicsopenlab

Micod Geiger Detector Driver Physicsopenlab

Comments